OA办公系统实现流程审批进度查看功能,实时跟踪进度查询

时间:2025-08-30 02:00:18 开源OA资讯首页 _OA系统的定义和作用全站_OA系统的定义和作用软件手机版下载V5.7.9.8530 智慧公路养护管理系统

PHPOA!国内首家专业OA办公软件、OA系统、政务办公开源oa系统服务提供商,采用PHP+MYSQL开源语言,一直致力于应用管理软件基层研发,现己推出企业OA、政府OA、集团OA、SAAS版OA等应用平台,详细咨询13807814037 现在论坛购买,只需588元

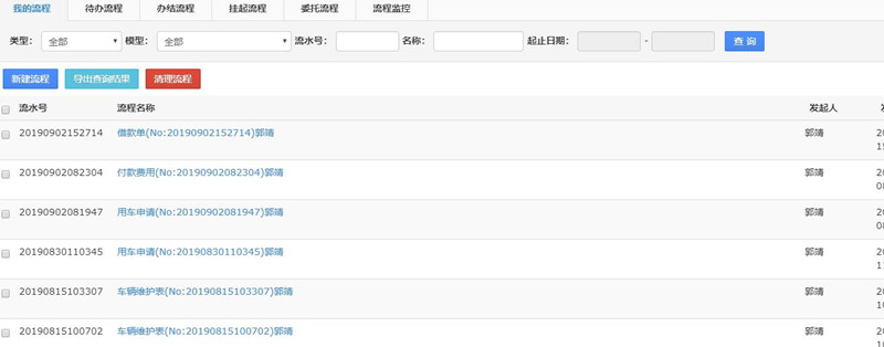
oa办公系统的流程审批还有一绝,就是申请发起人能实时查看审批进度。

场景一:传统作业时代的小李,因为有项报销单已经交给了领导审批,但是久久得不到回应,想问又不好意思张口,隔了几天仍然没有结果最后实在忍不住向领导询问,原来是领导因为工作忙忘记了。这样的状况不仅仅发生在小李身上,同样会发生在许许多多的员工身上。员工看不到审批进程,对于审批过慢又不好意思催促,这样尴尬的场面想必人人深有体会。

场景二:同样发生在小李身上,却发生在了使用oa办公系统以后。小李在电脑一端看到报销单已经通过领导审核,正奔向最后一步的财务审核,但是2天下来,依然停留在审核中的状态,这时,小李向财务审核员提起了催办手续,正因为催办成功,不一会儿,小李的电脑一端显示申请通过的通知。

同样是一项审批,明显地使用oa系统后,办公方便、快捷了许多,流程都是逐级审批,却速度加快了,工作效率也明显得到提升。

9、10(1)_副本.jpg


转载请注明出处,本站网址:https://www.phpoa.cn/news_393.html
相关推荐
热门TAG

智能牧场管理系统智慧用电安全监控管理系统后厨管理系统煤炭运销管理系统平煤办公自动化系统oa开源web文件管理系统君乐宝oa协同办公平台登录乐普oa协同办公平台君乐宝oa系统登录伊的家oa系统登录伊泰集团OA系统登录入口伊泰oa系统登录入口东鹏oa协同办公平台登录做一套oa系统多少钱oa办公系统包含的功能oa办公系统自动化开发卫生人力资源管理系统入口办公信息管理系统江苏省人力资源管理系统MES生产管理系统智慧牧场管理系统智慧厨房管理系统遂川县教育协同办公平台党政机关协同办公系统增值税发票管理系统电子会计档案管理系统顾客档案管理软件app事业单位公文管理制度公文管理包括哪些oa系统接收的文件在哪里找到oa系统网页版登录陕西众信oa办公系统旧版餐饮管理系统官网除了oa系统还有什么系统华天动力协同办公系统泛微oa系统通达oa办公系统软件oa系统无法编辑正文oa系统打不开word文档小天办公oa官网免费下载美业门店管理系统教育信息化工作管理系统宿舍管理系统的功能高级中学OA系统医疗器械进销存软件管理系统学生信息管理系统课程设计报告社会单位消防管理系统办公室OA中小企业oa解决方案MIUI文件管理国际版协同系统oa综合办公oa公司协同办公系统钉钉合同管理系统免费版怎么登录oa系统开源oa系统企业办公软件有哪些河南省学前学籍管理系统档案管理员考试费用大概多少oa办公平台登录

版本功能与服务体系

  • 版本功能介绍
  • 基础服务
  • 售后服务
  • 可选收费服务
  • 系统支持
功能模块 模块价格 功能扩展介绍(子模块)
OA基础功能 3800 通讯录、个人文件柜、微消息、手机短信、个人设置、知识库、公共文件柜、网络硬盘、下载管理、企业圈、应用中心、系统信息设置、栏目设置、权限组管理、部门管理、岗位管理、账户管理、菜单管理、门户设置、权限表管理、消息模板
多语言管理 10000 类别管理、语言包数据管理、语言包添加、语言包管理
内部邮件 500 发邮件、邮件管理、类别管理、邮箱账号设置、签名设置、收件箱、发件箱、草稿箱、己删除邮件
任务管理 1000 任务类别管理、任务发布、任务管理、任务进度管理、任务考核、子任务管理(多级)
工作计划 1000 计划创建、计划管理、计划任务分配、计划任务管理、任务进度管理、领导批注
考勤管理 2000 在线考勤(PC\移动\APP)、考勤管理、考勤配置、排班设置、考勤统计、考勤报表
培训管理 1000 培训发起、培训管理、培训审批、培训报表
奖惩记录 500 奖惩记录添加、奖惩记录管理、奖惩记录报表
通知公告 500 通知公告发布、通知公告管理、我的通知公告、通知公告阅读状态、通知公告评论
投票 500 投票发起、投票管理、在线投票、投票统计
论坛 500 论坛版块管理、发贴、论坛管理、贴子操作(置顶\精化)、回贴
财务管理 3000 收支随记、资金管理(借款单\还款单\付款单\业务进账单\资金调拨单\费用分摊申请)、报销管理(费用报销\出差报销\业务招待费)、薪酬变更单、开具发票申请、基础模型管理
CRM 4000 客户线索(潜在客户\潜在客户跟进)、客户管理(客户管理\客户合同\客户回访\客户反馈\客户投诉)、代理商管理(代理商管理\代理商回访)、基础模型管理
销售管理 3000 解决方案、报价单、销售订单、销售付款、销售发票、基础模型管理
开发平台 8000 基础应用开发(应用创建\应用管理\表单管理\应用发布)、流程应用开发(应用创建\应用管理\表单管理\流程管理\应用发布)
工作日志 500 我的日志、共享日志、写日志、工作日志管理
工作日程 500 我的日程、添加日程、工作日程理
人事审批 2000 加班申请、外出登记、出差申请、请假单、基础模型管理
员工档案 2000 员工档案、证照管理、学习经历、工作经历、员工关怀、人事调动、复职管理、基础模型管理
招聘管理 500 招聘需求、招聘计划、人才库、人才录用、基础模型管理
劳动关系 1000 人事合同、到期提醒、基础模型管理
薪资管理 2000 新建工资表、工资管理、部门工资上报、薪资项目设置、工资发放、基础数据配置
考试管理 1000 发起考试、考试管理、在线考试、试卷管理
档案管理 2000 新增档案、档案管理、档案借阅、借阅审批、档案类别
图书管理 1000 新增图书、图书管理、图书借阅、借阅审批、图书类别
应急事件管理 500 应急事件添加、应急事件管理、进度录入
领导外出安排 500 领导外出安排添加、领导外出安排管理
会议管理 500 会议申请、会议管理、会议室设置、会议室占用情况、会议设备管理
用车管理 2000 用车管理、车辆维护、车辆管理、报表与统计、用车系统配置
H5(WAP)移动端 2000 事务审批、财务、CRM、销售管理、采购中心、通知公告、考勤管理、工资查询、在线考试、工作日志、工作日程、投票、会议管理、个人文件柜、公共文件柜、 网络硬盘、下载管理、用车管理、在线考勤、通讯录、我的、消息
钉钉版 2000 事务审批、财务、CRM、销售管理、采购中心、通知公告、考勤管理、工资查询、在线考试、工作日志、工作日程、投票、会议管理、个人文件柜、公共文件柜、 网络硬盘、下载管理、用车管理
企业微信版 2000 事务审批、财务、CRM、销售管理、采购中心、通知公告、考勤管理、工资查询、在线考试、工作日志、工作日程、投票、会议管理、个人文件柜、公共文件柜、 网络硬盘、下载管理、用车管理
APP(Android\Ios) 4000 事务审批、财务、CRM、销售管理、采购中心、通知公告、考勤管理、工资查询、在线考试、工作日志、工作日程、投票、会议管理、个人文件柜、公共文件柜、 网络硬盘、下载管理、用车管理、在线考勤、通讯录、我的、消息
服务/功能 功能支持
版本价格 3800 - 56800
用户数 无限制
授权方式 一家企业
PC
企业微信版
移动(WAP/Html5)版
钉钉版
移动APP
技术支持年限 3年
软件升级 3年
软件使用年限 永久
售后支持/版本 服务支持
E-mail 支持
QQ支持
电话支持
论坛在线支持
文档/使用说明书
二次开发技术咨询
上门服务 单独购买
软件运行环境安装 远程安装(5次)
程序安装 远程安装(5次)
产品BUG反馈处理
收费项价格 收费标准
现场培训服务 2500元/天/人(另加机/住费3000元)
二次开发服务 1500元/天/人(以需求工作量为准)
流程模板集成 1000元/个
基础数据配置 3000元/次
远程培训 500元/次/三个小时
版本/系统 Windows LINUX
不限
php5+ php7+